Welcome to KZY Electronic Technology Co., Ltd
You are here:Home >> Products >> Sensor Module

Products

Products

Contact us

Contact: Louis
WhatsappWeChat : +86 18617158103
Tel: +86 18617158103
Direct: +86-0755-22235249
Made in china store: https://fut688.en.made-in-china.com/
Alibaba store: https://fut688.en.made-in-china.com/
Website: www.kzyeducabot.com
Add: Room 301, 3rd Floor, Zhengtong Pioneer Park, No. 12, Liuyuepuxia Road, Henggang Street Office, Longgang District, Shenzhen, Guangdong Province, China

Sensor Module

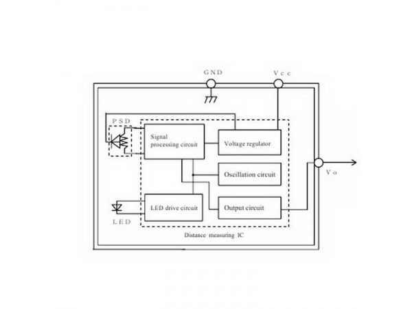
GP2Y0A21YK0F infrared distance measuring sensor GP2D12 distance detection 10-80cm with line

Description:

Measuring Detecting distance is 10 to 80 cm

The maximum allowable Angle : > 40 °

The power supply voltage : 4.5 to 5.5 V

The average power consumption : 35 mA

Peak power consumption : about 200 mA

The frequency of updates/cycle : 25 Hz/40 ms

  • Description:

    Measuring Detecting distance is 10 to 80 cm

    The maximum allowable Angle : > 40 °

    The power supply voltage : 4.5 to 5.5 V

    The average power consumption : 35 mA

    Peak power consumption : about 200 mA

    The frequency of updates/cycle : 25 Hz/40 ms

    Analog output noise : < 200 mV

    Less influence on the color of reflective objects, reflectivity

    Line-up of distance output/distance judgement type :

    Distance output type (analog voltage) : GP2Y0A21YK

    Distance judgement type : GP2Y0D21YK

    Judgement distance is  24cm

    Adjustable within the range of 10 to 80cm [Optionally available])

    External control circuit is unnecessary

    Low cost

  • Please submit your basic information, we will contact you as soon as possible!

    *

    *

    *

    *

Related products

Copyright 2022 KZY Electronic Technology Co., Ltd  All Rights Reserved  
Web Design—Quanfang Network